EduSahara™ Worksheet
Name : Chapter Based Worksheet
Chapter : Mensuration
Grade : CBSE Grade VIII
License : Non Commercial Use
Question 1
1.
Find the area of the shaded region
  • (i)
    363.00 sq.cm
  • (ii)
    366.00 sq.cm
  • (iii)
    364.00 sq.cm
  • (iv)
    362.00 sq.cm
  • (v)
    365.00 sq.cm
Question 2
2.
If the outer length, inner breadth and width of a rectangular path are 16.00 cm, 6.00 cm and 3.00 cm respectively, the area of the inner rectangle of the rectangular path =
  • (i)
    63.00 sq.cm
  • (ii)
    55.00 sq.cm
  • (iii)
    57.00 sq.cm
  • (iv)
    65.00 sq.cm
  • (v)
    60.00 sq.cm
Question 3
3.
If the outer side of a square path is 8.00 cm and area of the square path is 39.00 sq.cm, the area of the inner square =
  • (i)
    22.00 sq.cm
  • (ii)
    25.00 sq.cm
  • (iii)
    30.00 sq.cm
  • (iv)
    20.00 sq.cm
  • (v)
    28.00 sq.cm
Question 4
4.
If the height of a cylinder is 5.00 cm and volume is 4022.86 cu.cm, its L.S.A. is
  • (i)
    474.86 sq.cm
  • (ii)
    495.86 sq.cm
  • (iii)
    518.86 sq.cm
  • (iv)
    515.86 sq.cm
  • (v)
    502.86 sq.cm
Question 5
5.
If the radius of a cylinder is 11.00 cm and L.S.A is 1037.14 sq.cm, its height is
  • (i)
    10.00 cm
  • (ii)
    12.00 cm
  • (iii)
    18.00 cm
  • (iv)
    20.00 cm
  • (v)
    15.00 cm
Question 6
6.
If area of the circle is 154.00 sq.cm, the diameter of the circle is
  • (i)
    17.00 cm
  • (ii)
    11.00 cm
  • (iii)
    19.00 cm
  • (iv)
    9.00 cm
  • (v)
    14.00 cm
Question 7
7.
If the radius of a cylinder is 20.00 cm and T.S.A is 4022.86 sq.cm, its volume is
  • (i)
    15085.71 cu.cm
  • (ii)
    15285.71 cu.cm
  • (iii)
    14485.71 cu.cm
  • (iv)
    12785.71 cu.cm
  • (v)
    17585.71 cu.cm
Question 8
8.
In the given figure, d = 16.00 cm is the diameter of the semi-circles. Find the area of the shaded region
  • (i)
    390.29 sq.cm
  • (ii)
    402.29 sq.cm
  • (iii)
    397.29 sq.cm
  • (iv)
    414.29 sq.cm
  • (v)
    428.29 sq.cm
Question 9
9.
If the height of a cylinder is 5.00 cm and base area is 1018.29 sq.cm, its radius is
  • (i)
    13.00 cm
  • (ii)
    23.00 cm
  • (iii)
    18.00 cm
  • (iv)
    21.00 cm
  • (v)
    15.00 cm
Question 10
10.
In trapezium ABCD, if one of the parallel sides AB = 19.00 cm and distance between parallel sides AB and CD is 10.82 cm and area is 146.07 sq.cm, then parallel side CD =
  • (i)
    7.00 cm
  • (ii)
    9.00 cm
  • (iii)
    6.00 cm
  • (iv)
    10.00 cm
  • (v)
    8.00 cm
Question 11
11.
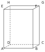
If the length, breadth and volume of a cuboid are 20.00 cm, 19.00 cm and 5320.00 cu.cm respectively, its height is
  • (i)
    9.00 cm
  • (ii)
    17.00 cm
  • (iii)
    19.00 cm
  • (iv)
    14.00 cm
  • (v)
    11.00 cm
Question 12
12.
If the breadth, height and volume of a cuboid are 18.00 cm, 13.00 cm and 4680.00 cu.cm respectively, its T.S.A is
  • (i)
    1788.00 sq.cm
  • (ii)
    1638.00 sq.cm
  • (iii)
    1588.00 sq.cm
  • (iv)
    1858.00 sq.cm
  • (v)
    1708.00 sq.cm
Question 13
13.
If the breadth, height and volume of a cuboid are 7.00 cm, 7.00 cm and 882.00 cu.cm respectively, its length is
  • (i)
    13.00 cm
  • (ii)
    18.00 cm
  • (iii)
    23.00 cm
  • (iv)
    21.00 cm
  • (v)
    15.00 cm
Question 14
14.
Find the volume of the given object if each individual cube is 1 cu.cm
  • (i)
    7 cu.cm
  • (ii)
    9 cu.cm
  • (iii)
    5 cu.cm
  • (iv)
    6 cu.cm
  • (v)
    8 cu.cm
Question 15
15.
In parallelogram PQRS, if base PQ = 16.00 cm and area is 222.56 sq.cm, the corresponding height to the base PQ is
  • (i)
    16.91 cm
  • (ii)
    18.91 cm
  • (iii)
    10.91 cm
  • (iv)
    8.91 cm
  • (v)
    13.91 cm
Question 16
16.
If the side of a cube is 7.00 cm, its volume is
  • (i)
    328.00 cu.cm
  • (ii)
    361.00 cu.cm
  • (iii)
    345.00 cu.cm
  • (iv)
    329.00 cu.cm
  • (v)
    343.00 cu.cm
Question 17
17.
Find the perimeter of the shaded region given below
  • (i)
    155.00 m
  • (ii)
    146.00 m
  • (iii)
    168.00 m
  • (iv)
    150.00 m
  • (v)
    127.00 m
Question 18
18.
If the inner length, inner breadth and width of a rectangular path are 6.00 cm, 5.00 cm and 2.50 cm respectively, the area of the rectangular path =
  • (i)
    77.00 sq.cm
  • (ii)
    75.00 sq.cm
  • (iii)
    83.00 sq.cm
  • (iv)
    80.00 sq.cm
  • (v)
    85.00 sq.cm
Question 19
19.
In quadrilateral PQRS, if diagonal QS = 14.00 cm, perpendiculars from the vertices P and R to the diagonal QS are 11.99 cm and 11.62 cm respectively, then area of the quadrilateral =
  • (i)
    152.27 sq.cm
  • (ii)
    153.27 sq.cm
  • (iii)
    165.27 sq.cm
  • (iv)
    170.27 sq.cm
  • (v)
    181.27 sq.cm
Question 20
20.
If the inner length, outer breadth and area of the inner rectangle of a rectangular path are 9.00 cm, 7.20 cm and 54.00 sq.cm respectively, the area of the outer rectangle of the rectangular path =
  • (i)
    73.44 sq.cm
  • (ii)
    70.44 sq.cm
  • (iii)
    78.44 sq.cm
  • (iv)
    68.44 sq.cm
  • (v)
    76.44 sq.cm
Question 21
21.
If the length, height and volume of a cuboid are 15.00 cm, 14.00 cm and 2730.00 cu.cm respectively, its breadth is
  • (i)
    18.00 cm
  • (ii)
    16.00 cm
  • (iii)
    10.00 cm
  • (iv)
    13.00 cm
  • (v)
    8.00 cm
Question 22
22.
If the side of a cube is 8.00 cm, its T.S.A is
  • (i)
    410.00 sq.cm
  • (ii)
    356.00 sq.cm
  • (iii)
    384.00 sq.cm
  • (iv)
    392.00 sq.cm
  • (v)
    370.00 sq.cm
Question 23
23.
If the height of a cylinder is 19.00 cm and base area is 254.57 sq.cm, its L.S.A. is
  • (i)
    1254.86 sq.cm
  • (ii)
    824.86 sq.cm
  • (iii)
    1144.86 sq.cm
  • (iv)
    1074.86 sq.cm
  • (v)
    914.86 sq.cm
Question 24
24.
If the length, height and T.S.A of a cuboid are 17.00 cm, 5.00 cm and 874.00 sq.cm respectively, its volume is
  • (i)
    1080.00 cu.cm
  • (ii)
    1630.00 cu.cm
  • (iii)
    1360.00 cu.cm
  • (iv)
    1310.00 cu.cm
  • (v)
    1500.00 cu.cm
Question 25
25.
If the inner length, inner breadth, outer length and outer breadth of a rectangular path are 8.00 cm, 7.00 cm, 12.20 cm and 11.20 cm respectively, the area of the rectangular path =
  • (i)
    75.64 sq.cm
  • (ii)
    83.64 sq.cm
  • (iii)
    80.64 sq.cm
  • (iv)
    77.64 sq.cm
  • (v)
    85.64 sq.cm
    Assignment Key

  •  1) (iii)
  •  2) (v)
  •  3) (ii)
  •  4) (v)
  •  5) (v)
  •  6) (v)
  •  7) (i)
  •  8) (ii)
  •  9) (iii)
  •  10) (v)
  •  11) (iv)
  •  12) (v)
  •  13) (ii)
  •  14) (i)
  •  15) (v)
  •  16) (v)
  •  17) (iv)
  •  18) (iv)
  •  19) (iii)
  •  20) (i)
  •  21) (iv)
  •  22) (iii)
  •  23) (iv)
  •  24) (iii)
  •  25) (iii)